图知网
搜索
首页
热门推荐
图片分类
猪场尿泡粪工艺设计(经典)
下载原图
相关图片
保育猪舍局部漏缝地板实景要做到粪尿自动分离,首先地面采用局部漏缝
寒冷地区猪舍干清粪工艺设计与评价
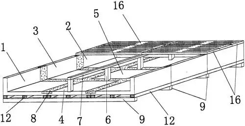
一种装配式预应力混凝土预制猪舍粪沟
猪舍水泡粪池建设过程图文
化粪池建设图纸
工艺流程是在猪舍内的排粪沟中注入一定量的水,粪尿,冲洗和饲养管理用
为你推荐
穿毛衣下半身玩失踪,搭配过膝靴显腿长!
青春猪小子是不会梦见兔女郎前辈的樱岛麻衣
绿松林793中性硅酮耐候胶门窗窗户专用结构胶黑白色透明防霉填缝密封
中式仿古门楼建造完工,成就感满满
镇魂沈巍表情包
河北标汇气压双栓塞压水试验器止水器止水塞水表压力表水压泵水管
智能净水器开拓全新净水市场,物云水机家装代理解决后顾之忧!