图知网
搜索
首页
热门推荐
图片分类
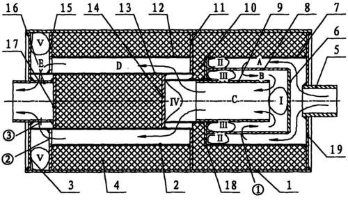
这种消音器通常用于中段消声器和尾段直排消声器,主要用于中高频的
下载原图
相关图片
消音器结构图
复合消声器示意图
越软黏越致命,年糕如何变成独居老人的顶级杀手?
摩托车消声器的构造与维护
cn101871473a_一种阻抗复合型消声器失效
因为人体生理图烂熟于心:你会时常怀疑自己学的是不是人体解剖学,自从
为你推荐
耳朵各部位示意图
闺蜜证喜欢的留名,留头像可以帮你做哦
图文热点来了 大家好,我叫王继英,今年66岁,我是北京三甲 - 抖音
b型和b型血的孩子是什么血型
适用华为p20充电头p20pro充电器5a快充p20pro数据线p20p20pro快充不含
张主任告诉大家,胎儿在哪个月份胎位就固定了,胎位不正该怎么办?
东北黄糯玉米10根装新鲜甜黏玉米棒子即食粘嫩苞米粒真空蔬菜包邮
ig冠军皮肤 艾瑞莉娅 by l微_风