图知网
搜索
首页
热门推荐
图片分类
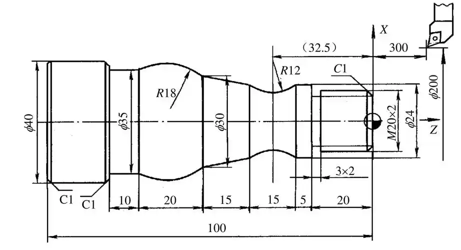
小葫芦的数控车加工工艺设计及手动编程仿真
下载原图
相关图片
数控车床编程实例大全2
文档下载 所有分类 > 数控仿真编程实例2加工如图所示零件.
第一部分 数控车编程 一, 零件图纸 在ck6132型数控车床上加工如车图1
数控车床加工件零件图及编程程序数控加工零件图及编程doc
求大神将下列零件的数控编程加工程序写出来!
模具零件的数控车削加工程序编制实例
为你推荐
清雍正仿宋汝窑汝瓷器皿老瓷器
马克笔手绘动漫人物 长发女孩
动漫头像 | 清新可爱元气少女头像_小狗_小熊_胡萝卜
王一博綦美合一起过七夕女方哥哥发文又被拿来为艺人挡刀
动漫美女挠脚心连环漫画
求这张弹丸论破v3最原终一 原图
景观马克笔表现.两点透视#风景园林 #贵州师范大学风景园林考 - 抖音