Warning: session_start(): open(/tmp/sess_8f9et1hg0eo69ah6gcmpard7kk, O_RDWR) failed: No space left on device (28) in /www/wwwroot/www.tuzhiw.com/config.php on line 13

Warning: session_start(): Failed to read session data: files (path: ) in /www/wwwroot/www.tuzhiw.com/config.php on line 13
一种无烟环保的柴气炉的制作方法 - 图知网

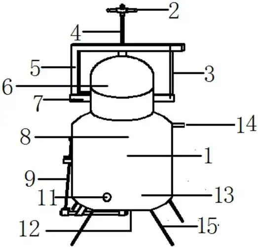
一种无烟环保的柴气炉的制作方法

相关图片

为你推荐

卡通,笑容,巧克力泰迪熊,272°笑容,巧克力熊,卡通,壁纸巧克力熊272

特种兵猎人迷彩战术背心背衣款钢丝快拆轻量量化作训外套

2.5d人物矢量

目前俄罗斯拥有五大军区,分别是南方东方西方和中央军区,还有前年设立

paul gallagher

囊括整个秋天惊艳整个冬天的观果盆栽

有一个叫riena yg的马来西亚华裔女警察开始走进我们的视线

立志参军为国防织金县2022年春季征兵体检工作有序推进


Warning: file_put_contents(/www/wwwroot/www.tuzhiw.com/cache/image/3cc229c3474feee01a8b3aab9e3956ec.html): Failed to open stream: No space left on device in /www/wwwroot/www.tuzhiw.com/config.php on line 196