图知网
搜索
首页
热门推荐
图片分类
气大伤身如何才能不生气控制愤怒的10个策略助你从此告别生气
下载原图
相关图片
时刻提醒自己莫生气
孩子惹你生气了? 你也在心里默念:亲生的,亲生的,亲生的,随我,不生气.
亲生的,不生气
别和亲生的儿子女儿生气书法冷静控制情绪字画摆件莫生气摆台挂画
快乐不生气口诀
不生气的秘诀
为你推荐
叶青
lays logo-品牌广告高清壁纸
紫槐花开
叶罗丽:原来冰公主穿古装时如此美丽,可惜大家再也看不到了_王子_人类
《口袋妖怪3ds》基拉祈实战心得
小涛讲电影:几分钟带你看完泰国恐怖电影《猛鬼大学2》
千与千寻
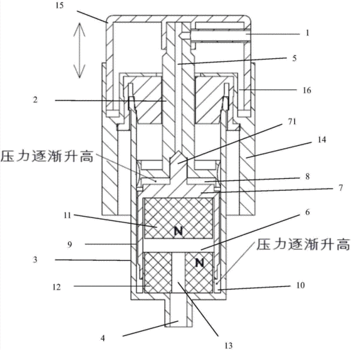
一种喷雾器头的制作方法