图知网
搜索
首页
热门推荐
图片分类
全自动双工位螺钉拧紧机3d数模图纸 solidworks设计
下载原图
相关图片
骨干区的固定只能使用motionloc螺钉.
【产品介绍】金属髓内固定系统
应用产品:脊柱内固定系统,颈椎后路内固定系统相较于国内外同类产品
后路脊柱螺钉系统颈椎椎板成形术系统手术器械箱
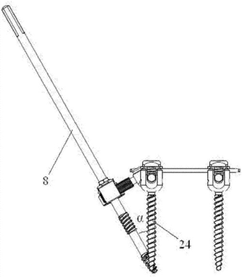
用于椎弓根螺钉的连接器和固定系统的制作方法
mcl移植物,在伸直位0°时拉紧pol移植物,挤压螺钉固定
为你推荐
【10图】安家在此取景拍摄孙俪已购买松江豪宅豪气十足,绿城兰园(公寓
小画家免抠png素材模板免费下载_psd格式_2000像素_编号36070499-千图
章子怡穿连衣裙搭高跟鞋和继女走机场,优雅又高贵,真是好后妈_白色
缅怀逝者,致敬英雄,愿人间皆安!------西峪小学纪念活动
古筝青花瓷曲谱简谱
闽南建筑水彩插画 - 庄小治 - 原创作品 - 视觉中国(shijueme)
kamjove/金灶d608 电磁茶炉 电茶炉自动上抽水电磁炉茶具功夫泡茶
乘着波黑免签风拿起护照说走就走