图知网
搜索
首页
热门推荐
图片分类
plc电机正反转梯形图 梯形图电机正反转自动运行plc编程
下载原图
相关图片
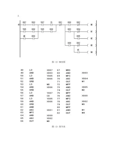
梯形图转指令表典型例子
欧姆龙plc编程指令与梯形图快速入门(d3版)
西门子plc自学第4课 定时器指令学习
而置位和复位指令则不同,对一个目元件可以多次操作,如下梯形图:x0为
三菱plc控制电动机正反转的梯形图
西门子plc指令表
为你推荐
朱一龙 - 堆糖,美图壁纸兴趣社区
定时器/计时器/提醒器 现货正倒计时器虹吸壶手冲咖啡大声音秒表闹钟
标签大全现代简约走廊效果图
腹部图片_高清腹部图片大全_正版腹部图片素材下载-veer图库
男生这种肚子要怎么减
华珠慧课堂走进设计学院何新闻材料工艺与施工管理课堂
记泉景中学小学部,六年级三班雏鹰小分队暑假荷花小报总结.
有创意的生日贺卡有创意的贺卡