图知网
搜索
首页
热门推荐
图片分类
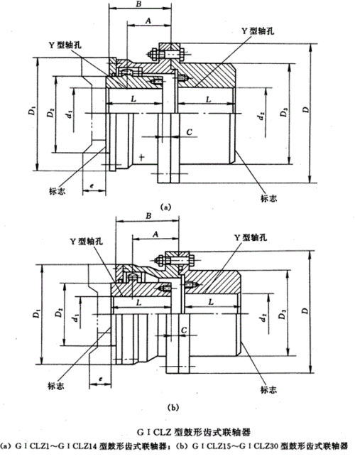
厂家直销刚性联轴器gy,gyh,gys-凸缘联轴器 价格优惠
下载原图
相关图片
a4联轴器装配图pdf
联轴器装配图.ppt
hl5弹性柱销联轴器lx注销连轴器厂家
yl型凸缘联轴器装配图
万向联轴器图纸
沧州锐硕传动机械多年联轴器行业生产经验经验
为你推荐
一起来看gucci百年展
有哪些jk款式对大胸友好呢应该怎么搭配
问:宝宝刚满3个月,今天拉了两次便便,里面都有黑色,第二次完全黑色.
农村10x11米别墅户型, 2套方案你喜欢哪个?
高清壁纸可qq背景可手机背景,qq壁纸纯色背景(高清手机壁纸背景,快
一根烟的承诺
市民家中被白蚁破坏的家装.
zhuyingzhai/竹影斋 琉璃佛像 坐莲药师佛花佛 蓝色 分体