图知网
搜索
首页
热门推荐
图片分类
气雾剂和喷雾剂到底怎样区分
下载原图
相关图片
本实验还用到喷雾器(结构见图5),钟油.
小样按压式喷雾瓶化妆品补水乳液细雾小喷壶分装瓶旅行便携空瓶子
喷雾瓶图纸
喷雾瓶将液体喷出的工作原理
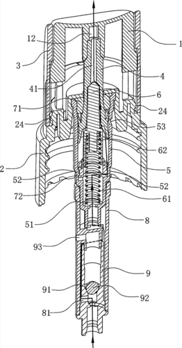
能倒置使用的揿压式喷雾器
cn213102753u_一种通过螺纹调节喷射形状的高压泡沫喷壶
为你推荐
【四周年拍立得扫图】 崽崽真的是拍立得的神91 #青年演员刘耀文
繁阳小学一年级2班奖状展示
忙.忍"四字诀只差一
「到手第二套汉服 返图来咯」兰若庭 太平有象 浅蓝&深蓝组合好端庄
简笔画 #简笔画教程 #画画教程 #儿童简笔画 #可爱简笔画 #卡通
妖精的尾巴 最终季 剧照
格子兮适用ipadair电池mini5air2苹果ipad2/3/4/5/6平板ipadmini1
elle homme双肩包男士商务休闲大容量旅行背包轻便电脑包学生书包