图知网
搜索
首页
热门推荐
图片分类
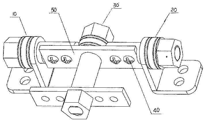
现有翻盖转动结构,一般是:1.将转轴用螺丝锁紧固定在上下翻盖上;2.
下载原图
相关图片
笔记本电脑转轴结构图
自动翻盖结构设计 翻盖,结构设计,阻尼转轴 产品结构设计-icax开思
cn2663787y_翻盖旋转机构失效
笔记本转轴 产品结构设计-icax开思论坛 - www.icax.org
【求助】各位帮我看看这个转轴结构的设计.
bit工业设计旋转轴结构分享60
为你推荐
高冷动漫男头卡通动漫头像
动漫蓝色驱魔师蓝色火焰中的帅气卡通男生高清图片桌面壁纸下载
2015年,刘楚恬出演了《芈月传》中的小芈月一角,深受观
吉祥八宝图案
小男孩短发推荐,最帅气的小男孩发型来了一共有三种雕刻发型小寸头和
严浩翔头像
迷你特工队:弗特受伤,他希望大家能团结起来
kaws式和龙王角式的椰子鞋鞋带绑法