图知网
搜索
首页
热门推荐
图片分类
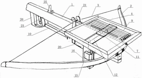
12.诸葛连弩图
下载原图
相关图片
【诸葛连弩】制作图纸(英文版)
中国连发弩丿诸葛弩的构造及原理[转了又转]
机械- 热门商品专区
神臂弩尺寸
cn203928873u_一种连弩失效
诸葛连弩
为你推荐
lpl英雄联盟春季赛snake战队图片
欧美风挑染发色
【颜丹晨丨嫦娥个人舔屏】奔月丨碧海青天夜夜心【赠 清源】
人间最美~富贵牡丹
抽油杆厂家
世界名羊- 绵羊
西班牙土豆饼
牙根的形成多根牙牙根的形成4,牙周组织的形成牙根形成时,其周围牙囊