图知网
搜索
首页
热门推荐
图片分类
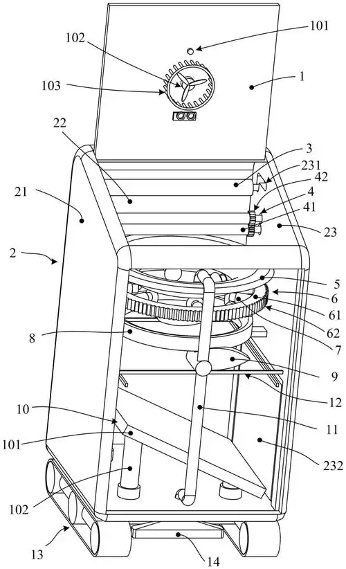
一种智能垃圾桶和控制方法
下载原图
相关图片
一种自动分类识别垃圾的家用智能垃圾桶
一种智能分类垃圾桶
一种可移动智能分类垃圾箱
自动感应酒店卫生间分类垃圾桶 家用厨房夹缝带盖垃圾收纳桶
cn212607202u_一种家用自动分类垃圾桶有效
一种智能自动分类家用垃圾桶及其分类方法
为你推荐
奢侈品牌logo及中文名
情侣头像丨值得一换的超宠溺情头_xhs_礼物_男生
放学了,永琪肯定都在等我了 - 还珠格格(校服版)_校服_还珠格格_装逼
游戏cos丨王者荣耀虞姬霸王别姬快来见识下两米大长腿
台词/配文|电影《你的婚礼》
小手掌变身萌萌长颈鹿00_长颈鹿_手工制作_创意美术_手印画_兴趣
俄罗斯 全新 俄军迷94/97条例陆军 军官 春秋风衣 带胆夏大衣
20格田字格硬笔书法作品比赛专用练习钢笔字纸a4书法用纸