图知网
搜索
首页
热门推荐
图片分类
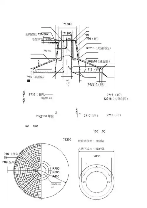
中杆灯基础图
下载原图
相关图片
米高杆灯基础图
30米高标准路灯基础
路灯高杆灯基础安装cad施工图详图4米6米8米10米12米18米30米等
25m高杆灯基础构造图
[分享]升降高杆灯基础图集资料下载
高杆灯基础设计图
为你推荐
长命百岁锁包
鲈鱼常见的6大品种,你吃的是哪种?#每天跟我涨知识 #科普一 - 抖音
敦煌八景之一月牙泉
百年周星驰深度解析3:周星驰将自己一辈子的爱,写成了情书_罗慧娟_段
情人节快乐动态表情包合集
民国时尚旧时代的中国女学生装
抱树考拉可爱图片
龙居东郡c2户型图