图知网
搜索
首页
热门推荐
图片分类
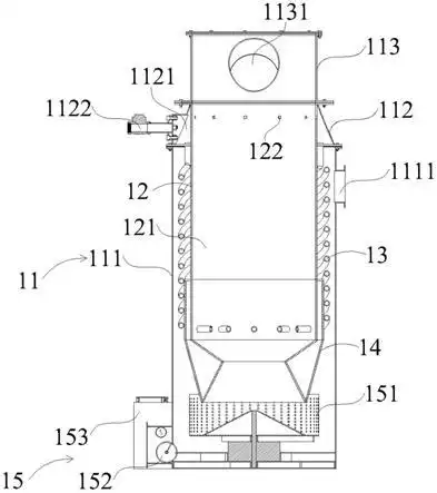
小型农户日常燃用的上吸式生物质燃气气化炉
下载原图
相关图片
秸杆气化炉怎么制作
秸秆气化炉用什么方法过滤,具体怎么做
下吸式双循环秸秆气化炉
粉煤气化炉结构介绍(配图)
各种类煤气化炉盘点
下吸式生物颗粒气化炉的制作方法
为你推荐
李光洁的老婆,靳东的老婆,雷佳音的老婆,看到郭京飞:!
多彩壁纸240期|宝藏女孩,赵露思壁纸!
这是我搜集的老鼠95030303#十二生肖头像 - 抖音
二次元动漫少女高清壁纸迷人而可爱的女孩儿
恶龙咆哮动态表情包附恶龙咆哮表情包大全
无线路由器天线越多是不是更快
适应翻地松土耕地机器开沟犁地机硬地配套家用o机覆盖杂草机械小
记者探访越西县文昌中学来自大山深处的歌声