图知网
搜索
首页
热门推荐
图片分类
寻欢/2019动漫男头/你是我绝口不_卡通动漫头像_我要个性网
下载原图
相关图片
男生头像搞笑动漫个性逗比男孩高清大图
头像图片2022最火爆男生动漫搞笑
逗比的头像男生动漫头像 动漫头像图片大全 -【爱个性】
搞笑头像逗比男傻 - 海绵宝宝卡通头像!
动漫男生头像
二次元动漫男头_卡通动漫头像_我要个性网
为你推荐
成都简谱123456那种谁有谢谢啦
焦俊艳再度和张若昀搭戏,动作完全变了,网友:godfrey不想看到
les情侣头像动漫,有没有les情侣头像,两个都是
【狂赌之渊】西洞院百合子
pc数码1380元性价比之王4g版华为p40lite5g版1968元成色靓原装正品
批发金川 blv150平方单股铝芯线电线电缆
贵州丹寨苗族板丝绣百鸟衣云南昭通苗族(大花苗)男服展览分为四个部分
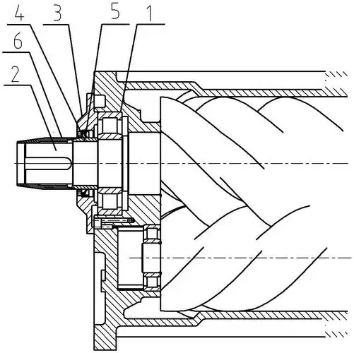
摘要附图摘要本实用新型涉及螺杆压缩机装配领域,具体为一种骨架油封