图知网
搜索
首页
热门推荐
图片分类
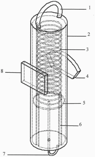
手提式袖珍弹簧秤原理
下载原图
相关图片
com弹簧秤又叫管型测力计,是利用弹簧的形变与外力成正比的关系制成的
老式盘称商用机械弹簧秤卖菜公斤秤水果台秤 普通8kg【塑料面罩】
首先我们来认识一下弹簧测力计的结构:昨天我们学习了弹簧测力计的
我需要购买弹簧秤,图片如下.有购买渠道吗?我不知道去哪里买啊.拜
弹簧测力计的结构主要结构:弹簧,挂钩,刻度板,指针,提环.
cn204963964u_一种指针式简易电子弹簧秤失效
为你推荐
【斗罗大陆】唐三的昊天锤最终都是什么魂环魂技?
高圆圆眼纹这么多也不遮掩是中年大妈真实模样自然且漂亮
终极任务:女大佐执行任务,谁知碰上八路狙击手,好一场对决
化学品,实验室器皿,设备
开心百天照
骷髅女孩2
马超【神威】3d视角展示:收枪动作太帅了!电光特效风驰电掣!
碧梨billie eilish遭网络霸陵body shame,身材被羞辱!