图知网
搜索
首页
热门推荐
图片分类
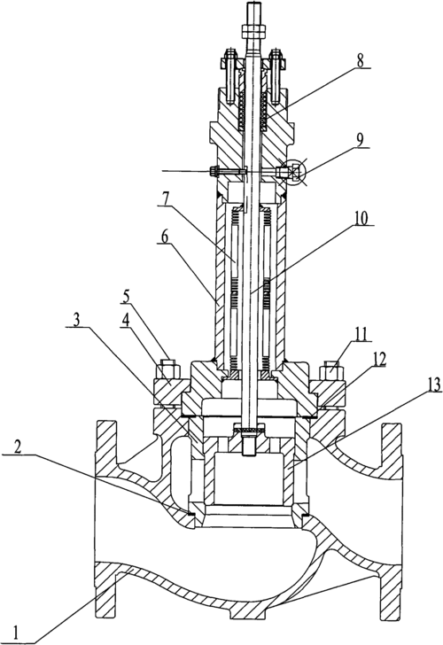
图摘要本实用新型属于用弹簧加压的一种压力释放阀,主要适用于变压器
下载原图
相关图片
用于提高油浸式变压器防爆烈能力的压力释放阀的制作方法
调节阀国际电工委员会iec节阀国外称控制阀valve
国产 特变电工 变压器配件 ysf系列压力释放阀 k型阀 - 爱企查
主要技术特征是采用小口径的泄压向导阀控制主阀膜片压力腔内的压力
一种压力锅泄压阀-爱企查
变压器报警压力释放阀
为你推荐
王一博鹿晗利路修黄子韬薛之谦等男明星女装网友p图大赛
田英章写的楷书灭
起动手做个奖杯送给爸爸,祝他节日快乐,半张卡纸很简单哦#幼儿园手工
摄影师眼中的洛阳感受洛阳真正的颜值
棕色中国风茶叶促销psd分层主图背景素材
滚筒洗衣机,洗衣机,家电,卡通手绘,简笔画,免抠,滚筒式洗衣机[声明]
西红柿简笔画
齐明帝