图知网
搜索
首页
热门推荐
图片分类
按钮开关ppt
下载原图
相关图片
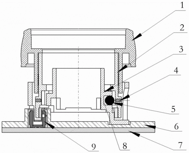
一种旋钮开关的制作方法
旋转开关的结构
旋转开关结构 示意图如图7-11 所示.(1)互锁 (2)自锁 (3)联动
按钮开关的结构
按钮开关种类按钮开关结构图
cn107910220b_一种组合式旋钮拨杆开关装置有效
为你推荐
孙艺珍产后首次公开亮相!身材恢复如初大秀美腿,笑容明媚状态佳
气质白色职业装女头像#可换脸#可漫改 能打动人的从来不是花言巧语
一滴泪的时间吉他谱c调赵紫骅高清弹唱谱
1秒赚了6400万:铁打的央视,易碎的标王|奥运会|段永平|郭晶晶|跳水队
男生背影头像图片合辑
2022王嘉尔又潮又酷的头像高清 有谁不爱王嘉尔了
丹心何须言在口 横笛闲吹落星斗#陈情令 魏无羡 吹笛合集#肖战 魏无羡
朱一龙 吴邪 重启 - 堆糖,美图壁纸兴趣社区