图知网
搜索
首页
热门推荐
图片分类
汪东城是为了躲炎亚纶,才跟唐禹哲玩得好的 隐情究竟是什么?
下载原图
相关图片
当初为了跟炎亚纶拉开距离,汪东城主动跟唐禹哲炒cp,而这股子醋劲直到
炎亚纶,鬼鬼.(图/取自鬼鬼脸书)
炎亚纶喜欢唐禹哲ncx是唐禹哲帅还是炎亚纶帅
吴尊当年隐婚,近期炎亚纶惹上官司,唐禹哲又爆出私生子,除了按部就班
唐禹哲_孩子_时候
重温90后追过的8部台湾偶像剧如今有些依旧经典你看过几部
为你推荐
powerpoint圈颜色图标
禅意莲花壁纸94静心之选
万花丛中一点红的张佳宁了解一下
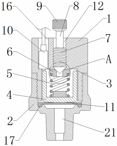
一种可调节式压力开关的制作方法
640_960竖版 竖屏
治愈系列质感油画笔刷
拿着酒杯的性感美女高清图片
侧脸头像女生高冷霸气你是高冷还是自卑