图知网
搜索
首页
热门推荐
图片分类
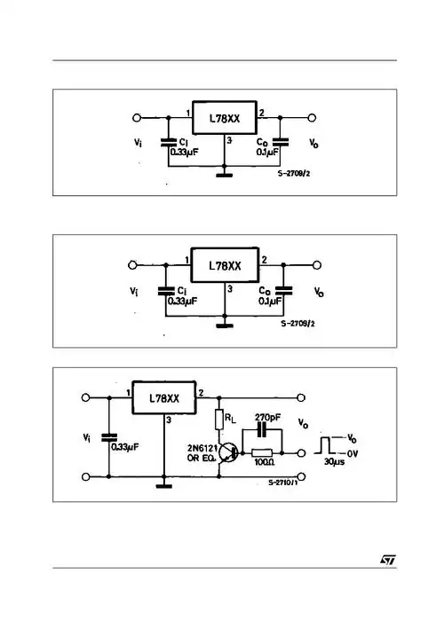
求解金封78157915的引脚识别
下载原图
相关图片
哪位大神知道金属封装的7815和7915三端稳压器各脚名字(输入输出)
线性稳压器件78xx79xx选用要注意的问题
变压器220 15v能不能满足7815 7915组成双电源的输入?有图 谢谢
普通7815应用电路分析
7815_百度百科
l7885cp l7809cp l7810cp l7812cp l7815cp l7818cp l7820cp l7824cp
为你推荐
拿着电吹风和剪刀的卡通美发师理发师图片免抠矢量素材 人物素材-第1
我的英雄学院 饭田天哉 (个性:引擎 )上鸣电气 爆豪胜己 丽日御茶子
杨鸣美丽妻子晒全家福,被指是回击"小三",网友:单方面秀恩爱
11pm和12pm像素对比
美杜莎
二手摩托车豪爵铃木 dl 250-a
[苦菜批发]苦菜,粉杆亲40亩价格0.70元/公斤 - 一亩田
69 综合讨论 69 遥远一方的迷离星光 华硕(asus)x99-a ii 主板