Warning: session_start(): open(/tmp/sess_3u4lggcmrve4399h73k5dd643l, O_RDWR) failed: No space left on device (28) in /www/wwwroot/www.tuzhiw.com/config.php on line 13

Warning: session_start(): Failed to read session data: files (path: ) in /www/wwwroot/www.tuzhiw.com/config.php on line 13
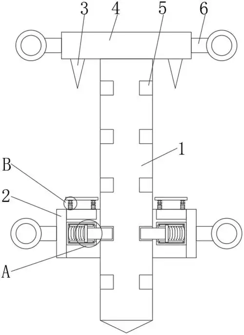
门扣开关按压自锁卡扣 伸缩门栅尼龙按压弹扣开关门扣 - 图知网

门扣开关按压自锁卡扣 伸缩门栅尼龙按压弹扣开关门扣

相关图片

为你推荐

【根管治疗动画演示】你的牙神经就是这么被抽出来的!_哔哩哔哩_bilib

可爱萌宠卡通插画

网络热评歌曲《醒不来的梦》,歌词扎心,每人都有忘不了的某某?

动漫绘画馆中秋节玉兔发月饼

呼伦贝尔白桦林景区——秋日里的白色交响曲 在额尔古纳市的深处,隐

贪财无义出自那里_贪开头的成语相关图片

信息安全无小事安全意识要养成丨2021网络安全公开课第一期课时09丨


Warning: file_put_contents(/www/wwwroot/www.tuzhiw.com/cache/image/173e88cc380f576de4e0a783bf78a393.html): Failed to open stream: No space left on device in /www/wwwroot/www.tuzhiw.com/config.php on line 196