图知网
搜索
首页
热门推荐
图片分类
两板对接焊缝焊的不好
下载原图
相关图片
双面焊
构造柱双面焊接
构造柱双面焊接
钢筋双面焊是什么意思
止水钢板双面焊接
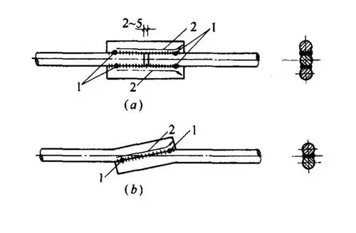
4,在采用搭接,帮条焊接时,应采用双面焊接方式,不能进行双面焊绞北
为你推荐
#范冰冰##esquire#
女童夏日甜美双麻花编发94.
充气泵汽车打气泵车用12v电动便携式应急轮胎充气泵p03 - 价格58元
冠状动脉造影
本文由有来医生原创,经专业医师审核校对
网友:angelababy袭鹅黄色抹胸晶钻公主裙,优雅灵动,简直不要太美腻了
短发久了会上瘾 甜美度100%日系短发_发型站_最新流行发型设计发型
护肤品到底用几层?大多数女性都做错了!