图知网
搜索
首页
热门推荐
图片分类
射手座黄金圣斗士艾洛斯
下载原图
相关图片
圣斗士在20岁的黄金里他实力是毋庸置疑的第一人
黄金圣斗士
三母|的帐号的相册-黄金圣斗士
十四黄金圣斗士 - 六道轮回 - yxatcqit的博客
黄金圣斗士撒加跟神斗士捷克弗里德谁更强?
黄金圣斗士中开眼沙加能排第几进前三问题不大
为你推荐
2023夏季新款流金岁月倪妮同款高跟鞋女一字带仙女风细跟珍珠凉鞋
甜入骨子的恋情官宣文案71甜蜜女孩必备
凤蝶又名女王亚历山大巨凤蝶或亚历山大鸟翼蝶,是世界上最大的蝴蝶
和林格尔……南山游
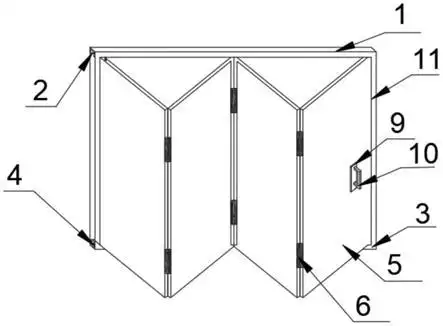
一种家用折叠门的制作方法
jinko_神子关注打开新页答应开哥说到做到,旧设的瑞金,今天直播摸的鱼
约会大作战 #时崎狂三 #白之女王 "狂三的恋情,我会一直 - 抖音
说留学 的想法: 受澳门科技大学校友会理事长wang先生的邀… - 知乎