图知网
搜索
首页
热门推荐
图片分类
某配电工程68台ggd型低压开关柜电气原理图
下载原图
相关图片
根据拍得这个房间配电箱里的电路图推断.
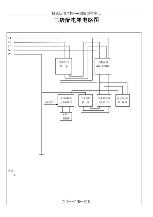
三级配电箱电路图doc
三级配电箱电路图共2页
配电柜接线图简单明了
江西森源科技三级配电箱系统结构型式示意图
配电箱电路图doc
为你推荐
服装鞋帽>男装>男士夹克>斯哲维世(szonvos)>斯哲维世(szonvos)男士
长大后的森碟依旧如此美丽 不愧是运动健将后人,身材比例真没得说
生活常识 三代子是牛的胃,牛一共有瘤胃,网胃,瓣胃以及皱胃四个胃
摩卡咖啡棕颜值呈现的巅峰发色
20位妈妈专业户年轻照钟晓芹妈身材傲人杨昆竟曾这般美过
有没有搞错这个满脸凶悍的大反派竟是美国人眼中的李小龙
指尖的蝴蝶意境图片蝴蝶在手上的美
舒夫林丁酸氢化可的松乳膏10g克涂抹成人儿童皮炎湿疹过敏性皮炎脂溢