图知网
搜索
首页
热门推荐
图片分类
设计4立体图
下载原图
相关图片
灶台3d模型设计素材 厨房做菜3d场景设计 犀牛rhino贴图设计概念
集成灶(官帽款)
柴火灶台图片,暖气_大山谷图库
农村柴火灶尺寸及施工方法农村柴火灶台尺寸:高度:灶台高度应在0.
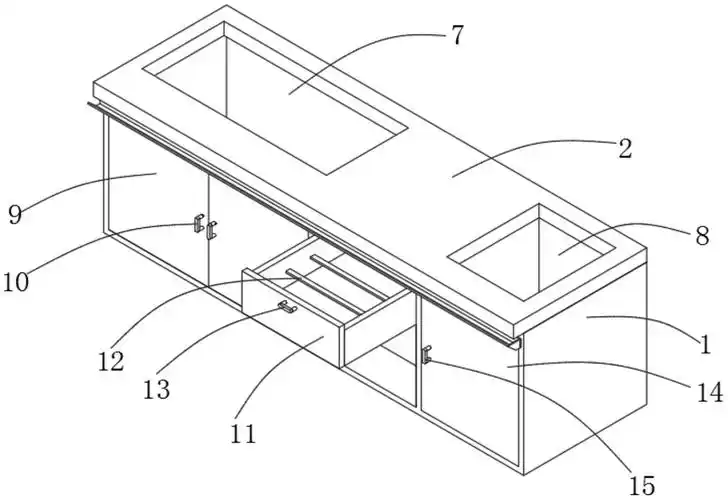
一种便于日常清理的整体式厨房灶台
灶台搜索结果
为你推荐
黄夏温表情包
陆毅一家四口的颜值非常高,而且身材也特别高挑修长,尤其是大女儿贝儿
琉璃美人煞#战神#褚璇玑 - 抖音
婚车装饰车头鲜花 大v主车婚车装饰车头花结婚花车装饰车头仿真车队
全员千万直拍blackpink个人最高播放量直拍排名
克洛斯威硅藻泥 给墙面另一片天空
各种电线颜色的含义
黑龙江行政区划调整优化