图知网
搜索
首页
热门推荐
图片分类
美国晴子海莉砍21分5板4助连续三年率队杀入疯三8强
下载原图
相关图片
海莉范丽丝 #donissue5 hvl03donovan - 抖音
篮球 #海莉范丽丝 #haileyvanlith 把握好自己的生活90
美国晴子海莉砍21分5板4助连续三年率队杀入疯三8强
金童玉女热门秀萨格斯宣布与美国晴子海莉交往
贤者丨篮球界还有如此极品_海莉
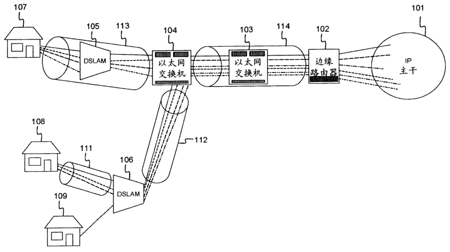
cn1984080a_具有传输控制协议汇聚模块的传输控制协议主机失效
为你推荐
第十一期给力壁纸图集美女风景游戏动漫全有
15位古装美人撑伞刘诗诗赵丽颖清冷唐嫣杨紫灵动最美的是她
实际上它是 世界上最毒的水母!
情侣头像
甜嘴香烟有哪些甜嘴香烟推荐
西方人,手,一个人,竖图,室内,特写,夜晚,正面,游戏,赌博,贪欲,竞争
圣母院旧址
死神bleach头像壁纸3.