图知网
搜索
首页
热门推荐
图片分类
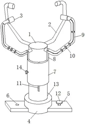
一种具有在线校准功能的风向仪的制作方法
下载原图
相关图片
cn213068900u_一种便携式风速风向仪
风向标的分类有哪些
cn211577192u_一种防水防侵蚀的风速风向仪有效
螺旋桨式测风仪是集风向风速测量功能于一体的测风仪,测风仪由风向
说明: 轻便风向风速表
一种用于城市风环境测量的一体式风速风向仪制造技术
为你推荐
壮丽优美山水自然风光高清图片桌面壁纸高清大图预览1920×1200_风景
周润发178cm可以推算出其他男明星的身高
幼儿园 卡通小朋友设计图__儿童幼儿_人物图库_设计图库_昵图网nipic.
庄稼院的歌_歌谱简谱_哆来咪123曲谱网
龙族封面
潍坊高新东风学校二年级四班艺术节参赛作品展示之《世界名画模仿秀》
巨人的脚步歌词(简谱和吉他谱)_mack歌词网
司机操作不当开车爬上楼梯.网友:每一步都在预判之外