图知网
搜索
首页
热门推荐
图片分类
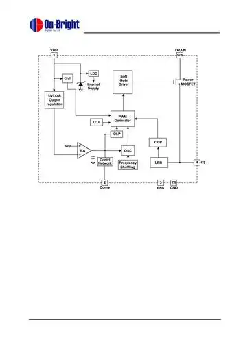
ob2226ap电路图
下载原图
相关图片
几种常见开关电源电路图
pwm 控制器,专为高性能,低待机功耗,低成本,高效率开关电源系统设计
做电路板和零件高手来
采用top222p的小开关电源模块
开关电源原理图
小家电电源芯片方案ap8022电路原理图与pdf资料文档
为你推荐
年轻孕妇站在农村
你爹来啰,你妈来啰,你宝宝来啰#热门 #表情包 #搞怪 #可 - 抖音
背景与科学涂鸦画遍两个小孩做科学实验采用班科学实验小孩把科学实
神仙颜值小众风动漫女生头像_wi-fi_图片_图文
七夕贺卡.七夕情人节 不知道写什么文案的宝子们快码住!# - 抖音
96 马克笔手绘守拙园同心圆长廊,让我们一起动手绘制吧!
是的,在赣州市崇义县湘赣边界,与井冈山同属罗霄山脉,也是国家级重点
我的锁骨怎么了