图知网
搜索
首页
热门推荐
图片分类
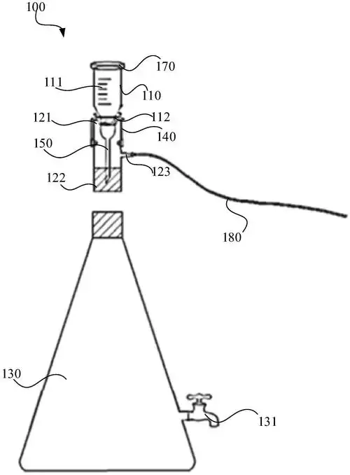
cn108854197a一种防滤纸破稳固型真空抽滤装置在审
下载原图
相关图片
抽滤装置 简单原理 1,2,3名称分别是什么?作用(尤其是3)?
cn212119186u_抽滤装置有效
一种抽滤装置
一种制备帕博西林关键中间体的抽滤装置
一种悬浮物抽滤装置的制作方法
一种使用便捷的抽滤装置的制作方法
为你推荐
当天,孙艺珍身穿白色衬衫裙亮相.
在最新曝光的照片中,李东学无论是身穿复古西装,还
89万元 宝马3系亮相2021天津车展
一组古风发型绘画线稿素材,超适合临摹,练习线稿控笔勾线能力训 - 抖
夏日福星
电工接线不求人,3分钟搞懂电气二次回路图
五沙移动展厂单开自动门
如果您来莱州一定记得来这几个地方 掖县公园