图知网
搜索
首页
热门推荐
图片分类
tianck medical consumable cardiology angiography ptca
下载原图
相关图片
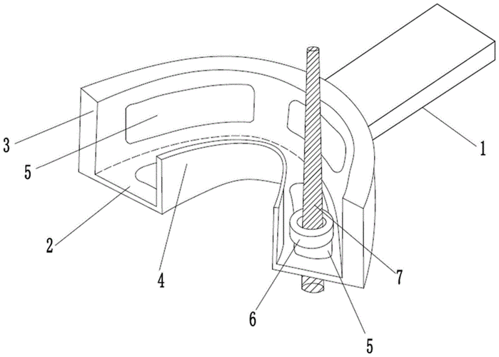
一种可调式颌骨囊肿塞治器印模托盘
颌骨囊性病变开窗引流负压阻塞装置
颌骨囊肿开窗治疗及二期激光微创治疗病例展示 - 好大夫在线
一种可调式颌骨囊肿塞治器印模托盘
开窗减压术在颌骨囊肿治疗中的应用
下颌肿物3年余"于2020年1月在我院口腔科行"右侧下颌骨囊肿开窗术",术
为你推荐
元代青白釉折腹瓷盘
曾经的孔雀公主金巧巧,她的经历可称为娱乐圈励志标杆
明 和田玉籽料沁色 兽面纹 玉琮 把件 摆件
周星驰倡导健康饮食:绿色生活引领者,揭秘其背后的饮食哲学
为何二战后才普及,从56半的发展就能说明_自动步枪_弹夹_枪械
【笑料百出精选】盘点球场上的尴尬瞬间
扎西德勒——希热布老师唐卡作品欣赏 二>
关于香烟的微信头像