图知网
搜索
首页
热门推荐
图片分类
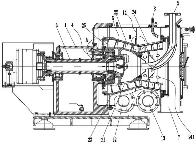
> 卧式离心机
下载原图
相关图片
lw型卧式螺旋卸料沉降离心机
卧螺式电镀厂污泥处理设备厂家 卧式螺旋卸料沉降离心机是将需
gk 卧式刮刀下卸料离心机-结构示意图.png
一种卧式螺旋卸料沉降过滤离心机_cn201921354089.6_知雀网
卧式螺旋沉降过滤二合一离心机
gk型卧式刮刀卸料离心机
为你推荐
qq昵称女生超拽简短
浅谈汉朝的政府官员制度及地位
华为seaal10是什么型号华为seaal10是什么手机
虞山公园,据说是纪念虞帝而建,有点文化气氛.
为什么眼综合后眼皮黄,做完眼综合后是什么样的
动漫女头 #微丧女头 - 抖音
lining1990李宁品牌设计
艾利图 工牌工作牌员工胸牌挂高档工号牌胸卡定制挂牌工作证定做姓