图知网
搜索
首页
热门推荐
图片分类
过滤装置图及详细步骤,安装过滤装置的步骤,过滤的装置图及注意事项
下载原图
相关图片
过滤装置图 两 低 一贴
锰砂过滤器详细介绍和安装示意图
yr 原理 离心式过滤法 用途 水
液体中的 难溶性组分 ,过滤装置如图
多介质过滤器的设计原理解析_污水处理设备-陈工15927391146
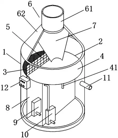
根据权利要求1所述的一种便于污水过滤的过滤装置,其特征在于:所述的
为你推荐
2020微信风景头像图片
展开全部 正常,是乳房开始发育的征兆,会出现乳核,会有疼痛感,胀创
十条段子如果看到有人拿着手机转圈那一定是打开了手机地图
有一种美丽,叫林青霞. 我永远也忘不了这东方不败.
小型会议室布置设计效果图图片
芸婷 手模 手模型硅胶仿真假手模特女拍照饰品直播展示真人手指美甲假
truereligion首位品牌形象大使程潇
超级炫酷的未来机甲战士,你绝对没有见过,喜欢拿走!