图知网
搜索
首页
热门推荐
图片分类
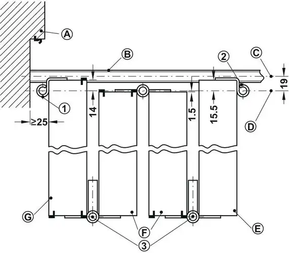
日本三协浴室折叠门的安装步骤把浴室门改为折叠门
下载原图
相关图片
意美达纱门定制折叠门可拆卸e3 白色 每平米
工业折叠门结构示意图
折叠门扇示意图
ykk/三协 日式折叠门安装示意
一种家用折叠门的制作方法
木移门折叠门配件滑轮万向旋转吊轮推拉门轨道吊滑轨吊门滑轮
为你推荐
《铁血兄弟》广东热播 刘向京"猛汉子"受追捧
日媒投票,动画史上最强亲子组合排行榜,悟空悟饭登顶
战台风-艺术_古筝谱-古筝曲谱-中国古筝网
你不一定知道 关于手机指纹识别那些事
台湾第一名媛孙芸芸庆生照曝光母女同框似姐妹44岁依旧靓丽
三年级硬笔书法比赛作品选登
英格兰的七国之战:盎格鲁—撒克逊,朱特人与凯尔特"亚瑟王"
清代红木独板透雕回纹角牙小画桌明清古典老家具古玩古董收藏真品