图知网
搜索
首页
热门推荐
图片分类
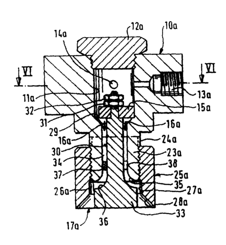
雾化基本原理以及重油催化裂化进料喷嘴的雾化机理和结构分析. 2.2.
下载原图
相关图片
喷油器的工作原理
空气雾化虹吸式喷嘴原理
厂家批发超声波雾化喷头连接球形底座干雾抑尘喷嘴可调万向接头
spraying 斯普瑞 喷嘴主体/喷嘴主件1/8jn,1/4jn 带断流针
图8-42 二流式喷嘴
cn1007409b_产生全圆锥形喷流的二元雾化喷嘴失效
为你推荐
怒怼谢娜,不让老公做家务,因秀腰获得官媒批评_郎朗_刘亦菲_生活
对未来充满希望的句子积极乐观的九句话让我的人生充满能量与希望
斯嘉丽的婚纱摄影作品
风筝简笔画简单.#创作灵感 风筝简笔画教程大全来啦#风筝简笔 - 抖音
火影忍者女忍者
关东微喜剧丈夫玩套路发现妻子大秘密
在跟哪个妹妹玩妹妹哪个表情
气泡小动物卡通对话框