Warning: session_start(): open(/tmp/sess_ehmbfgt3vdo6uv3at9ggooilis, O_RDWR) failed: No space left on device (28) in /www/wwwroot/www.tuzhiw.com/config.php on line 13

Warning: session_start(): Failed to read session data: files (path: ) in /www/wwwroot/www.tuzhiw.com/config.php on line 13
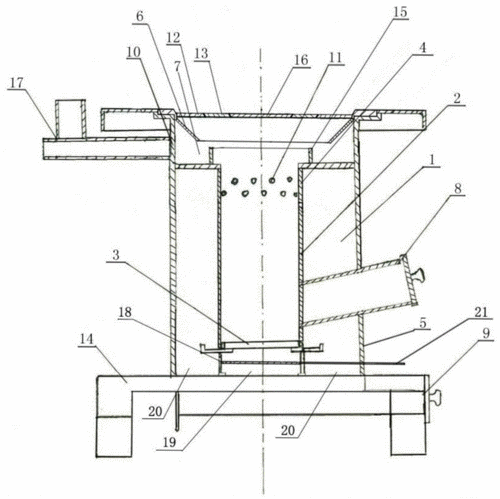
农村省柴节煤灶的构 - 图知网

农村省柴节煤灶的构

相关图片

为你推荐

马琳张雅晴再婚张雅晴被爆是小三美若李小冉

结构式:na213co3分子式:93673-48-4cas(labeled):93673-48-4cas

戴着围脖的可爱麋鹿

安康新增15个国家卫生乡镇,快看看你是不是这里的人?

【教师节花束贺卡】孩子做完手工,再送给老师

泽塔奥特曼:杰庞顿设计稿曝出,最初竟然没有尾巴,而且是三个头

肥东四名女孩玩水 不幸全部淹死!事发肥东包公镇

许愿树——研学历史作业


Warning: file_put_contents(/www/wwwroot/www.tuzhiw.com/cache/image/b0291b6cdc34fdd813f489bedb10c2d1.html): Failed to open stream: No space left on device in /www/wwwroot/www.tuzhiw.com/config.php on line 196