图知网
搜索
首页
热门推荐
图片分类
卡盘四爪卡盘四爪自定心卡盘短锥四爪卡盘四爪复合卡盘
下载原图
相关图片
三鸥牌三欧sanou k72 200四爪单动卡盘 车床夹具四爪卡盘
四爪单动卡盘k721000
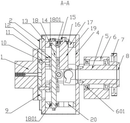
一种四爪电动卡盘装置
k62四爪复合卡盘
千鸿普通型高性能高精度四爪卡盘ps315
台湾千岛chandox卡盘,亿川卡盘,可调式普通四爪钢壳卡盘fct-12
为你推荐
香谱72图解高清大图
如果你有秽土水门,那真的是泰酷啦
女士小巧汽车3万左右新能源电动车推荐
新三国演义曹植七步诗本是同根生相煎何太急曹丕瞬间热了盈眶
著名主持人吉雪萍嫁富豪老公幸福美满一女一儿凑成了一个好字
你们想看的想聊的 逍遥都知道 火器酷视频号 军事小视频 敬请关注
冰品|伊利|小布丁奶油口味雪糕 最近,一直被雪糕刺客刷屏,而这款经典
朋友圈拍照超美的瑜伽狂野式,只需6步带你解锁!