图知网
搜索
首页
热门推荐
图片分类
国漫女神壁纸1绫清竹
下载原图
相关图片
国漫女神ai绘画壁纸完美世界月婵4k高清手机壁纸
天穹.反派长得美,三观跟着五官走#国漫女神#国漫女神壁纸 - 抖音
国漫女神|《完美世界》云曦高清ai手机壁纸:石昊(魔曦)护送云曦十万里
国漫女神ai高清图集分享火灵儿唐紫尘苏沐
国漫女神壁纸1绫清竹
ai#完美世界# 火灵儿#国漫女神
为你推荐
亚克力广告标识一站式制作厂家发光字 · 文化墙 · 亚克力制品
搜索乒乓球赛
辛亥革命独立诸省使用的旗帜
《碧蓝航线:crosswave》新截图 性感舰娘又来了
装载机驾驶室钢化玻璃/柳工clg890h前后上下左右门窗挡风玻璃
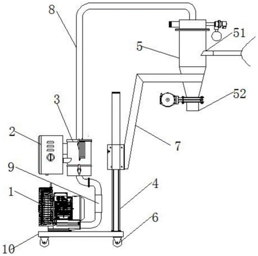
一种移动升降式真空粉末吸料机
生活娱乐自嘲躺着也中枪表情包
小茴香和大茴香其实一点都不一样,大茴香俗称八角,是一种有几个星星