图知网
搜索
首页
热门推荐
图片分类
两用型锅炉,热水循环; 单采暖锅炉加单盘管热水 - 抖音
下载原图
相关图片
全自动锅炉 锅炉节能 上海锅炉厂 培训册 培训会 家用锅炉 热水锅炉
卧式热水燃气锅炉
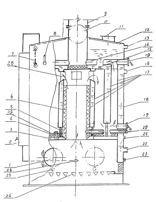
链条锅炉结构图
四通cwns1吨/60万大卡卧式燃气常压热水锅炉主要特点
单锅筒立式水管锅炉
套筒式常压热水锅炉
为你推荐
你们觉得国内最漂亮的女明星是谁
特别优秀的你,突然在某一天,成为我暗无天日生活的一束光,原来
排球少年电脑壁纸
性感女神佘贝拉bella紧身短裙写真集
农业合作社资产负债表
国风墨染手机锁屏壁纸竹青绿
小型家用中药制丸机器泥丸 不锈钢水蜜丸手工制搓丸板 手摇药丸机
cerruti1881 切瑞蒂1881 女式 单肩包/斜挎包 20344t