图知网
搜索
首页
热门推荐
图片分类
东邪西毒 台词
下载原图
相关图片
东邪西毒经典台词
经典语录所构筑的经典电影东邪西毒与东成西就
东邪西毒经典台词语录
《东邪西毒》丨当你不能够再拥有,你唯一能做的,就是不要忘记
[东邪西毒]王家卫经典电影台词截图:张国荣/林青霞/梁朝伟/刘嘉玲/张
东邪西毒
为你推荐
闺蜜头像霸气高冷两张
关晓彤婚纱造型亮相《奔跑吧》,肤白貌美大长腿,真是便宜鹿晗了
动漫男生头像 | 黑发眼镜的少年感
赵丽颖_热播_网友
谁有世勋ins上的这张照片高清原图
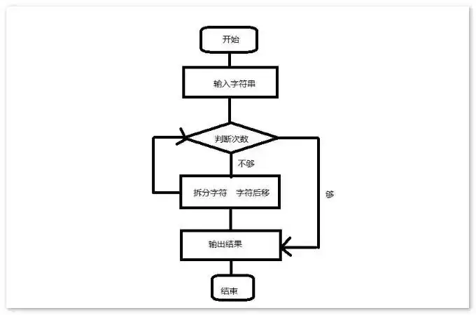
程序流程图怎么画
2018超短发流行"剃边头"
网红小红美人美人鱼鱼尾生日浪漫蛋糕女朋友创意新鲜生日蛋糕