图知网
搜索
首页
热门推荐
图片分类
日产轩逸经典的两厢版平顺好开油耗经济买它怎么样
下载原图
相关图片
不吐不快,日产轩逸三大优势及三大缺点,这车还值吗?
2020年日产轩逸(经典)豪华版,个人一手车,4万多公里,一 - 抖音
并且日产骐达虽然是两厢轿车,但车内空间并不比轩逸小,车长4.
【对比】紧凑型燃油车中的佼佼者 卡罗拉vs轩逸
【对比】紧凑型燃油车中的佼佼者 卡罗拉vs轩逸
日产轩逸2022新款落地价,每月花费1166元,日产轩逸用车成本如何?
为你推荐
女儿情简谱
洛天依壁纸{wallpaper}
她22岁被师父带上春晚,成名后却抛夫弃子,如今百万豪门开路|丫蛋|二人
2003年卖800元的诺基亚2100如今还值700
汪汪队立大功~阿奇简笔画教程来啦!
民国铜喜字烛台重150克老铜器
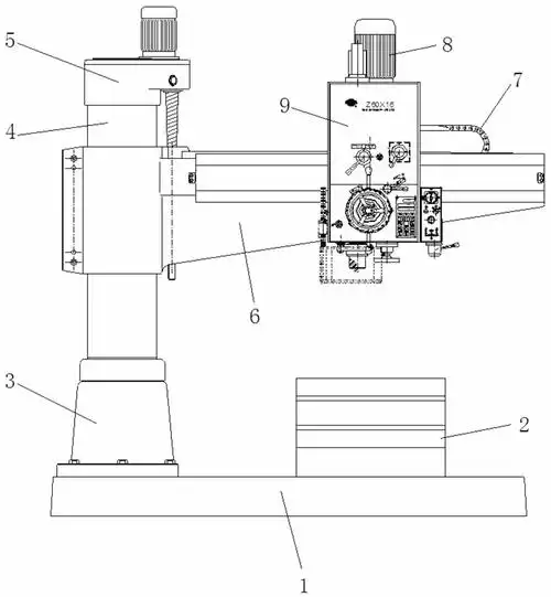
cn209491359u_一种可精控钻深的变频无级调速摇臂钻床有效
小数的意义和性质思维导图ppt课件