图知网
搜索
首页
热门推荐
图片分类
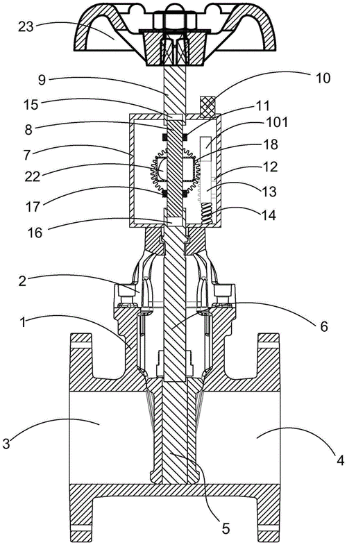
闸阀结构图
下载原图
相关图片
一种磁性锁闭阀门的制作方法
一种带机械锁和磁性锁的双重锁闭阀制造技术
阀体,限位件,分体式锁闭件,阀球和阀杆,阀体具有通腔的管状结构,限位
大家有知道锁止阀的工作原理吗
一种双控式智能锁闭阀-爱企查
258磁性锁闭足径球阀结构图
为你推荐
锅盖头发型男图片,有哪些适合夏天的日系男士短发?
古风人物# 作者:乐兮
麻匪动态壁纸教程 雅典娜变装2.mpkg 宅男居家必备 3. - 抖音
如何画好陶罐素描陶罐画法步骤
完成93我们是7804starship家族0478因为是和宇宙少女前辈们
往后余生 c调简单版 钢琴谱 简谱
金华火腿烧豆腐
跃动在石头上的蓝焰风采玉树州消防救援支队组织开展彩绘石头画文化