图知网
搜索
首页
热门推荐
图片分类
梁配筋图解超全真心好
下载原图
相关图片
建筑结构跨度七米承重梁需要多粗钢筋,要多大梁
梁宽度既然说要做大梁,梁宽建议 ≥250mm,确定梁大小为250x600的梁
梁钢筋图识读
关于圈梁,构造柱的设置要求和规范_mm_房屋_钢筋
978_706
桥梁箱梁钢筋的计算
为你推荐
可爱小兔子
关于人类指纹的斗和簸箕之间的秘密,你知道多少?科学家来解答
好看的美甲图片2021显白(显白温柔款式指甲推荐)
而瞳孔大小是天生的,不是双眼皮手术可以改善的! 02眼睛的形态
葛优躺表情包侵权是怎么回事 艺龙网是怎么侵权葛优的肖像权
【4k】cod19黑袍纠察队系列祖国人组合包展示
意境山水画抽象水墨装饰画 插画 山 创意 清新 艺术 素材 酷 唯美
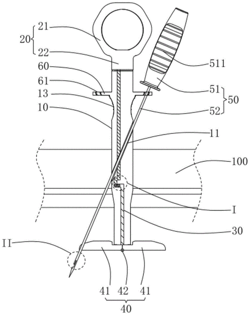
缝合器的制作方法