图知网
搜索
首页
热门推荐
图片分类
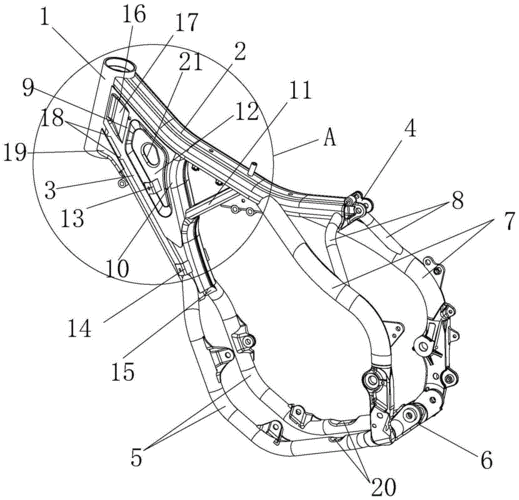
一种摩托车车架及车辆的制作方法
下载原图
相关图片
一种摩托车车架结构的制作方法
一种电动摩托车车架的制作方法
越野摩托车车架的制作方法
cn1425584a_踏板型两轮摩托车的车架有效
cn208602611u_一种三轮摩托车车架有效
摩托车踏板车车架的3d结构图
为你推荐
天之四灵——《玄武·风暴》
听海智能简谱张惠妹演唱
南京华谊电影小镇
3号线(beijing subway line 3),是中国北京市正在建设的一条地铁线路
【官方评测】全球首发!雷蛇黑寡妇蜘蛛幻彩版v2键盘评测
红星美凯龙
医疗垃圾暂存点地面上有血迹未及时处理
夏日来一款四川冰粉,炎炎夏日让您不再烦恼