图知网
搜索
首页
热门推荐
图片分类
哥们儿,你终于来了!全民k歌舞台机今天开始在全国落地丨最新资讯
下载原图
相关图片
全民k歌推出新版logo,渐变色彩尽显活力
全民k歌删除作品方法
全民k歌涨粉
全民k歌玩法合集
【全民k歌】图片免费下载_全民k歌素材_全民k歌模板-千图网
全民k歌
为你推荐
泡吧奶黄小面包夹心迷你面包早餐法式下午茶点心传统西式糕点
文艺且小众的情侣头像
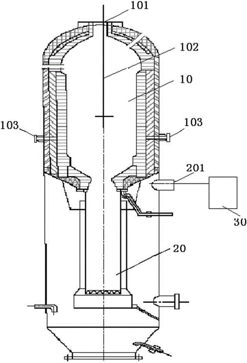
cn206089594u_气化炉有效
好物分享超详细特斯拉家用充电桩安装教程
姓氏壁纸第二期
海口世纪大桥.康登淋 摄
八字脸的英短(tica孟加拉豹猫标准(中英文对照版))_达一风水网
【怪盗基德/黑羽快斗】进来感受怪盗的魅力