图知网
搜索
首页
热门推荐
图片分类
mhl_电路
下载原图
相关图片
骗子在哪里?
lm3886tf/nopb pdf下载_lm3886tf/nopb pdf文件在线
音频电路
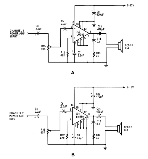
lm380集成功放电路图
优秀的功放ic,lm3886基本应用电路图
lm3886低音炮电路图
为你推荐
[tfboys][新闻]171117 【行程】易烊千玺今日宁波飞长沙 小飞人再启程
大陆明星,性感,高清,angelababy,写真,杨颖,吊带裙,壁纸,1920x1200
香港知名歌手吕方宣布复出!明年将开演唱会,娶富婆妻子老来得女
简笔画步骤分解.#解压 孵蛋的鸡949494#画画 - 抖音
中子星和黑洞都是宇宙中最神秘的天体
时尚的学生高马尾发型扎法图片
44岁的广州演员钱莹,戏里她是幸福的黄菲,现实中的她却感情坎坷
白鹭图片 - 第12张