图知网
搜索
首页
热门推荐
图片分类
打麻将请选择雀神保佑雀神壁纸分享
下载原图
相关图片
逢赌必赢符咒微信头像_微信头像图片大全
打麻将赢钱神器招财
逢赌必赢符打麻将招财偏财外财赢钱神器赌博神器五鬼运财开光灵符
保佑我麻将赢回来保佑我的家人一切顺顺利利平平安安顺顺利利健健康康
打麻将一定要连赢三家!财神爷保佑!
麻将玄学
为你推荐
《山海经·海外东经》说青丘国北面,有一只"四足九尾"的狐.登上央视
现代矢量标识号7.7数字设计向量
一体式通体大理石原槽梯级地板砖1.2米定制灯槽踏步台阶楼梯砖
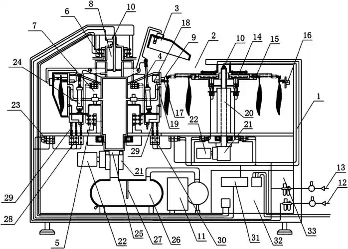
一种给袋式充气真空包装机
通知重要
键盘按键数目不同,但基本按键是相同的,如下: 1.
两款基于北斗导航定位芯片的智能跟踪器方案
写中国字 做中国人——一小商城举办学生汉字书写大赛活动