图知网
搜索
首页
热门推荐
图片分类
ai修复下的香港明星老照片,来看看那些年的倾城大美女们
下载原图
相关图片
香港老明星男演员大全
31位被遗忘的香港老牌美女明星 个个国色天香 如今大多去世 韦伟99岁
【香港明星照片【张国荣生活照,少见】】2张.品如图.
王祖贤近照曝光,美人已经迟暮,其实很多香港美女明星都老了
20位香港明星年轻时与年老时形象对比 - 抖音
香港女明星周慧敏退出舞台后成了著名画家,越老越成功的女星代表
为你推荐
台阶花盆方管花架不锈钢形梯型3层2层家用防水商务用花
并且宋轶的脸很小,鼻子也很挺,透着一股娇俏劲儿.
溯钢琴谱完整版,难度7 #钢琴 #五线谱 #钢琴谱 #溯 - 抖音
游乐园儿童画
蔚县鸟种记录-63-夜鹭.中型涉禽,体长46-60厘米.体较 - 抖音
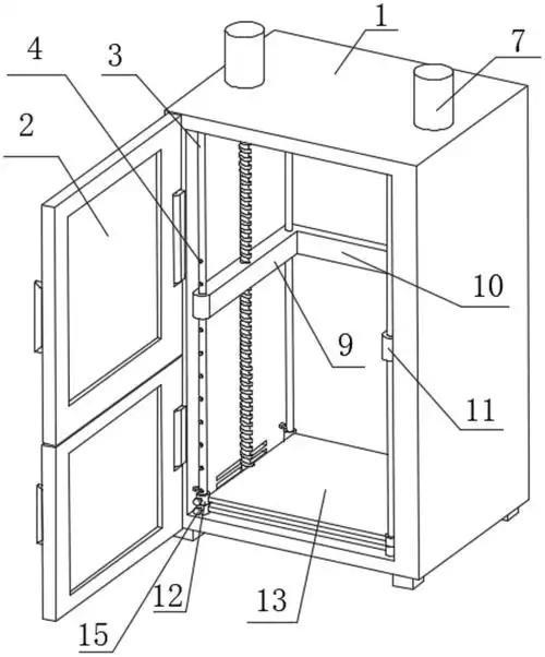
一种便于清洁内部的高温消毒柜专利_专利申请于2020-10-12_专利查询 -
中国 四川省 遂宁市 大英县 蓬莱镇 本站收录有:2021蓬莱镇卫星地图
起亚k5 2021款 380t gt-line 焕新版 新到一台起亚凯酷 2.