图知网
搜索
首页
热门推荐
图片分类
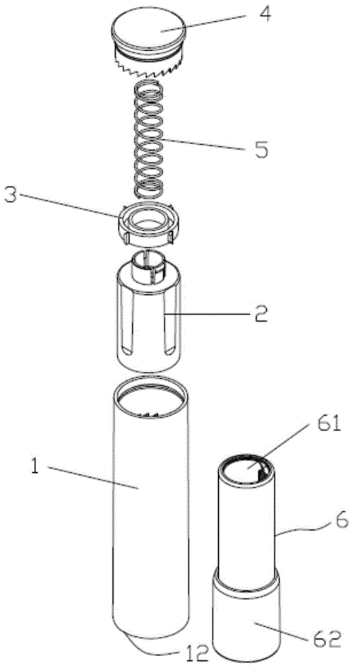
sd卡按下弹出结构原理图
下载原图
相关图片
分享一个sd卡弹出机构的文件大家一起了解
弹出结构
sd卡弹出机构 产品结构设计 - icax开思论坛 - www.icax.org
一种按压弹出式化妆品外包结构的制作方法
中国子弹产量世界第一每一颗都是这么造出来的
按下弹起结构
为你推荐
可爱超萌女生头像
韩国小清新花纹
传说中的凤凰鸟,比传说还漂亮
高清-昆仑决美女员工秀性感马甲线
这车靓不靓?【2020款无极300rr】
佛山威帝森门窗【官网】
茶叶有机肥
速腾更换天窗遮阳板