图知网
搜索
首页
热门推荐
图片分类
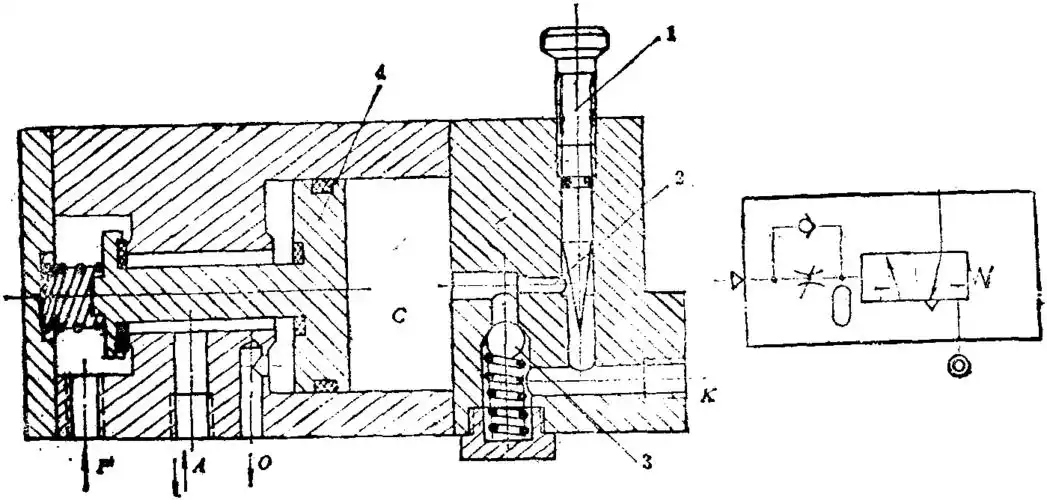
现货vr2110-f01,smc延时阀工作原理 - 仪器交易网
下载原图
相关图片
smc气动培训中也提到过两位三通延时阀的应用
气压延时换向阀
脉冲电磁阀工作原理及应用
cn2719947y_一种可控延时冲洗阀失效
竹内tb1140液压挖掘机定时阀工作原理
广东石油化工学院化工原理 §2 离心泵的工作原理 泵 壳 1-叶轮 3
为你推荐
朴灿烈
38岁阔太李念,真是性感尤物!饱满饱满着实迷人啊!
被吐槽不务正业的孔笙成业界品质担当获电视剧三大奖最佳导演大满贯
极简艺术
v-style##刘耀文美拉德西装#@时代少年团-刘耀文生日写真的第三套
王子文清晨现身首都机场 梳酷萌双小辫一路听音乐满满少女感
萌娃来袭 头像 唯美 可爱 壁纸
小学数学一年级数独初步入门ppt