图知网
搜索
首页
热门推荐
图片分类
08 _ 08 图片_百度百科
下载原图
相关图片
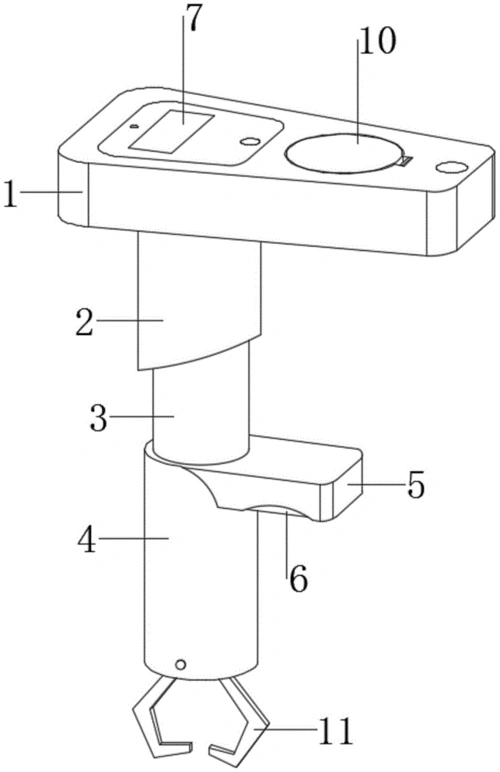
一种控鱼器的制作方法
本实用新型提供一种折叠式控鱼器,属于渔具的制造技术领域,其结构包括
具有触碰控制锁合机构的控鱼器的制作方法
一种控鱼器_cn201920918927.1_知雀网
一种自动测量鱼获重量的控鱼器装置
一种自动测量鱼获重量的控鱼器装置的制作方法
为你推荐
什么意思英文 _什么意思-第2张图片-潮百科
微信状态最火的带字配图
大红时娶初恋,76岁仍当众示爱|狄龙|张彻|秦沛|王羽|姜大卫|尔冬升
50年代,页数缺最后一页和后皮,黄纸),点图可放大_连环画/小人书【宝
王也- 堆糖,美图壁纸兴趣社区
阿振最新写真集-酷出男儿本色
洁白的广玉兰花
在一起